
MIL-DTL-28837/5B
Ltr
Inches
mm
Max
Min
Max
Min
A
.465
.425
11.81
10.79
B
.202
.172
5.13
4.37
C
1.148
1.108
29.16
28.14
D
.579
.549
14.71
13.94
E
.938
.898
23.83
22.81
F
.474
.444
12.04
11.28
G
.41 TYP
---
10.41 TYP
---
H
.101
.071
2.57
1.80
J
.966
.946
24.54
24.03
K
.101
.071
2.57
1.80
L
.756
.736
19.20
18.69
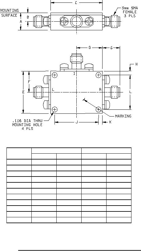
NOTES:
1. Dimensions are in inches.
2. Metric equivalents (in mm) are given for general information only.
FIGURE 5. Outline drawing for mixers PIN M28837/5-08 through M28837/5-10.
6
For Parts Inquires call Parts Hangar, Inc (727) 493-0744
© Copyright 2015 Integrated Publishing, Inc.
A Service Disabled Veteran Owned Small Business